餐饮加盟网-免费发布餐饮招商信息!本站不提供任何加盟资料,如需加盟请去其官网了解详情

小磨香油设备 一种小磨香油加工装置

来源:网络整理
作者:小吃加盟·发布时间 2025-10-14
核心提示:29(71)申请人地址713800陕西省咸阳市三原县城关镇大李村二组(72)发明人(74)专利代理机

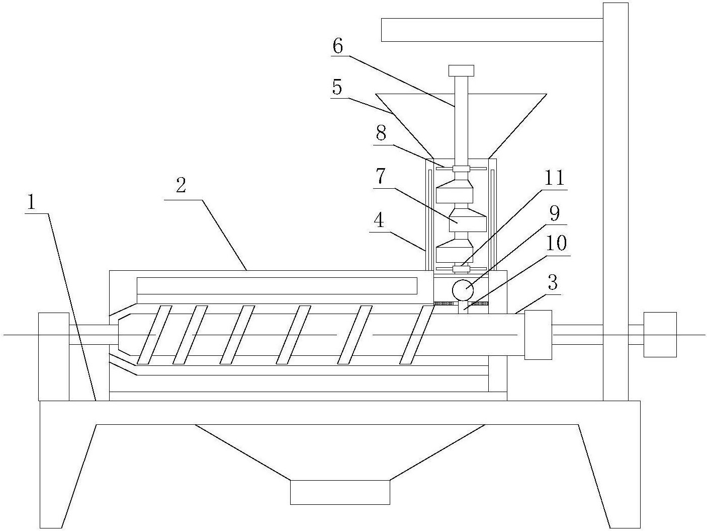
(19)中华人民共和国国家知识产权局(12)实用新型专利(10)申请公布号(43)申请公布日2016.11.23(21)申请号CN2.0(22)申请日2016.04.29(71)申请人地址713800陕西省咸阳市三原县城关镇大李村二组(72)发明人(74)专利代理机构西安睿通知识产权代理事务所(特殊普通合伙)代理人(51)Int.CI权利要求说明书说明书(54)发明名称一种小磨香油加工装置(57)摘要本实用新型属于食品加工机械技术领域,公开了一种小磨香油加工装置,其特征在于,包括罐体,所述罐体上部为圆筒形,下部为漏斗形;所述罐体上部设有进料管小磨香油设备小磨香油设备,所述罐体侧壁上设有出油管,所述罐体的底部设有出渣管;所述罐体上方设有罐体盖,所述罐体盖上设有一个中心孔和围绕中心孔的至少两个导向孔;所述中心孔内贯穿有一转轴,所述转轴的下部设有搅拌叶片,所述转轴上部连接有旋转机构;每个所述导向孔中贯穿有一个竖直移动杆,竖直移动杆的下端对应连接有墩油葫芦,竖直移动杆的上端与一个水平连杆的一端连接,所有水平连杆的另一端共同连接一个竖直往复机构,并且所述水平连杆位于所述旋转机构上方,所述墩油葫芦位于所述搅拌叶片上方。法律状态法律状态公告日法律状态信息法律状态2016-11-23授权授权2016-11-23授权授权2018-05-15专利权的终止专利权的终止权利要求说明书一种小磨香油加工装置的权利要求说明书内容是....请下载后查看说明书一种小磨香油加工装置的说明书内容是....请下载后查看

小磨香油设备_磨萤石球设备_徐水泥立磨设备

标签: 小磨香油
如果您对此项目感兴趣,请在此留言,坐等企业找您(成功的创业者90%都是通过留言,留言只需5秒钟)
  • 知名招商项目汇聚平台

    汇聚海量知名、高诚信度品牌招商项目,随时为您提供招商信息

  • 事实和口碑胜于一切

    千万创业者通过这里找项目、迈出成功创业第一步;

  • 诚信的商机发布平台

    请你在加盟留言时,选择有实力、 加盟店多、成功案例多、合法资质、 证照齐全、诚信经营的品牌.

郑重承诺:本公司郑重承诺尊重你的隐私,并承诺为你保密!
随时 上班时间 下班时间
您可以根据下列意向选择快捷留言
  1. 加盟费多少
  2. 我们这里有加盟店吗?
  3. 我想了解一些加盟资料
  4. 我对这个项目感兴趣,尽快联系我


创业专题



热门创业项目

精品推荐

餐饮项目分类

联系我们

微信扫一扫
第一时间推送投资小回报快利润高的项目

合作伙伴

我们也在这里

关注微信关注微信

您身边的财富顾问...

扫一下
客户端客户端

iPhone/Android/iPad

去下载
关注微博关注微博

官方微博随时分享...

加关注
手机看hbdrt.cn手机看hbdrt.cn

随时随地找商机...

去看看

温馨提示

  • 1在找餐饮项目的过程中多对比同类项目。
  • 2了解项目时多打电话,进行实地考察。
  • 3投资有风险,请谨慎加盟。
  • 4本网站对投资者的风险概不承担。