近日,蜜雪冰城股份有限公司与河南鹿角巷食品有限公司(简称“鹿角巷公司”)、郑州火爆网络科技有限公司(简称“郑州火爆公司”)侵害商标权纠纷案件迎来一审宣判。
< style="text-align: left; margin-bottom: 10px;">
▲资料图片 图据IC photo
判决书显示,原告蜜雪冰城公司诉称,被告鹿角巷公司在其生产销售的果汁、奶茶等饮品包装上突出使用与原告“蜜雪”商标近似的“蜜雪皇后”商标,被告郑州火爆公司明知“蜜雪冰城”的知名度和影响力,却提供网络平台宣传销售侵权产品,二被告的侵权行为极易使消费者对商品来源混淆和误认。
鹿角巷公司辩称,其产品经“蜜雪皇后”商标权人合法授权,不存在侵权行为;不知情“蜜雪皇后”商标涉嫌侵害原告的商标,不存在恶意行为。郑州火爆公司辩称,已对相应资质凭证进行审查,尽到了合理注意义务。
法院审理认为,被告鹿角巷公司经授权标示“蜜雪皇后”字样,涉案标识的整体形象和细节与原告商标存在实质近似,且上述“蜜雪皇后”商标已被宣告无效,鹿角巷公司构成商标侵权。根据现有证据,无法证明被告郑州火爆公司构成帮助侵权。最终,法院判决被告鹿角巷公司立即停止侵权行为,赔偿蜜雪冰城公司经济损失及维权合理开支共计3.9万余元。
红星新闻记者致电蜜雪冰城官方客服及公关部了解上述侵权纠纷详情,截至发稿时未获得相关回复。被告方河南鹿角巷食品有限公司相关工作人员在接通记者电话后表示不清楚事件具体情况。
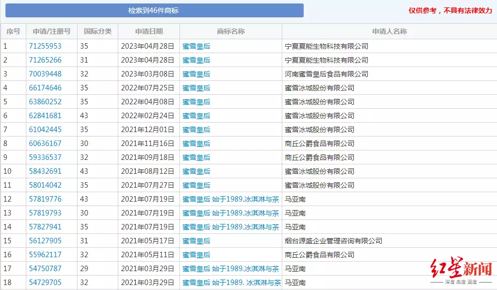
中国商标网显示,2021年和2022年,蜜雪冰城股份有限公司注册“蜜雪皇后”商标被数次驳回后,2023年7月注册成功。
< style="text-align: left; margin-bottom: 10px;">
▲2023年7月7日,蜜雪冰城股份有限公司注册成功“蜜雪皇后”
< style="text-align: left; margin-bottom: 10px;">
▲此前,“蜜雪皇后”商标被多家公司申请注册
据了解,2020年12月17日,郑州两岸企业管理有限公司变更名称为蜜雪冰城股份有限公司,从2020年至今,蜜雪冰城已向多家注册商标为“蜜粉儿”“蜜雪时光”“雪王之城”“MIXUE”等相关企业提起上诉商标侵权。天眼查显示,截至目前,蜜雪冰城股份有限公司已发布的行政判决书中,商标侵权案件大多尚未得到解决,不过其中“蜜粉儿”“蜜雪时光”“MIXUE”“蜜雪约”等商标已被判决停止侵权。
据媒体报道,2022年10月,广州知识产权法院曾判定蜜雪约(广州)科技有限公司使用的“蜜雪约”文字及图商标与“蜜雪冰城”系列商标构成近似,主观攀附的故意明显,侵犯了蜜雪冰城公司商标权。终审判决蜜雪约公司及其法定代表人梁某共同赔偿蜜雪冰城公司经济损失等共计50万元。
相比之下,本次“蜜雪皇后”商标侵权案件中,蜜雪冰城获赔的3.9万余元是否过低?北京恩赫律师事务所常俊虎律师认为,商标权纠纷案件中如果原告能够举证证明自身商标因侵权所受到的损失,或者是被告因侵权商标侵权的获利情况,那么法院通常会依据原告的举证情况进行判决。但如果原告不能举证被告方侵权获利情况或者原告损失情况,法院将酌定判赔,即根据被告侵权以及原告的品牌知名度等情况酌情判定赔偿数额。本案中,3.9万余元的赔付金额是法院综合考虑各种情况给出的结果。
红星新闻记者 卢燕飞 实习生 黄楷婷
编辑 张莉 责编 官莉